![]() |
a-In-Line Finger Filter b-3-Way Selector Valve c-Plug d-Body |

Please submit following information to our sales department while ordering.
Maximum flow rate : m³/h
Maximum network/line pressure : bar
Main line size : mtm
Valve connection type : ---
Maximum upstream pressure : bar
Minimum upstream pressure : bar
Desired downstream pressure : bar

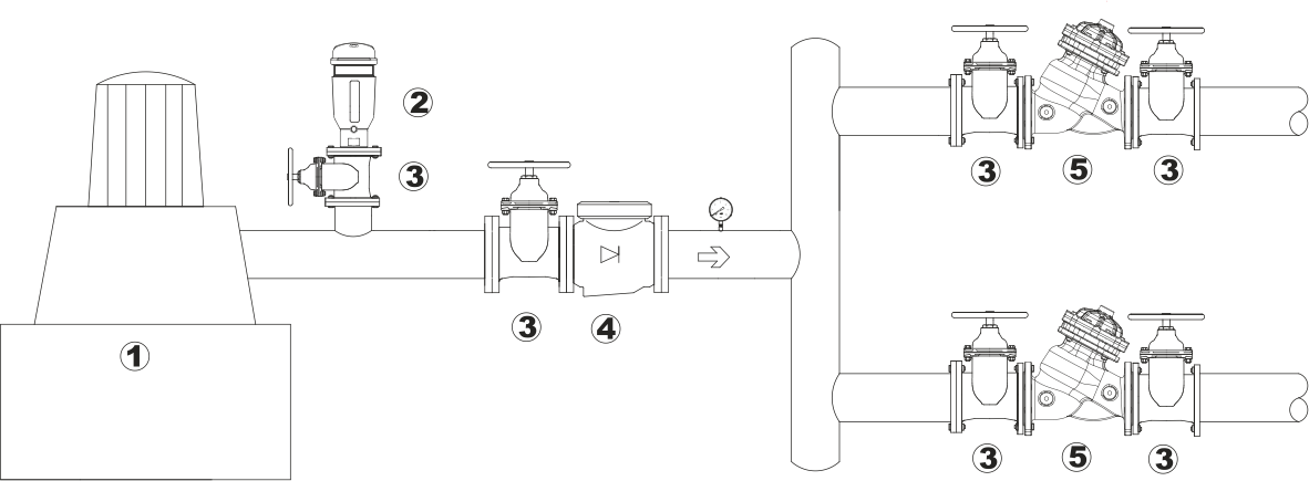
1-Pump
2-Air Valve
3-Isolation Valve
4-Check Valve
5-Manual Control Valve